Take Advantage of Pickup & Delivery Today!
Watts
CSA Rated. Standard Models are self-closing T&P Relief Valvesfor Water Heaters up to 105,000 BTU/Hr.
Watts Series LL100XL has extended inlet shanks for use with the new generation of waterheaters containing extra thick insulation. These valves eliminate the use of an extension nipple required with standard shank length models.
The combined 2-in-1 Temperature & Pressure relief valve provides the least expensive and proven means for protection against both excessive temperature and pressure emergency conditions.
Watts Self-closing combination T&P relief valves are design certified, rated and listed by CSA to the requirements of ANSI Z21.22; and by the National Board to the requirements of ASME Section IV.
They provide fully automatic temperature and pressure relief protection for hot water storage tanks and heaters up to 105,000 BTU/Hr.
The temperature sensing element must be immersed in the water within the top 6"(152mm) of the tank. Male inlet and female outlet. Temperature relief 210°F (99°C). Standard setting 75, 100, 125, 150psi (5.3, 7.0, 8.8, 10.6 bar).
Each hot water storage heater shall be equipped with a CSA and ASME rated automatic temperature and pressure relief valve to protect the heater from excessive pressure and excessive temperature. The device shall be design certified, rated and listed by CSA to the requirements of ANSI Z21.22; and by the National Board to the requirements of ASME Section IV. The BTU discharge capacity of the device shall be in excess of the BTU input rating of the heater. Watts Series SL100XL, L100XL, LL100XL or LLL100XL.
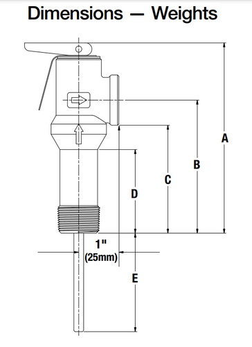
Model LL100XL Suitable for water heaters with up to 21⁄2" (63.5mm) of insulation
Pentair Parts2O FP4840 2" Single Pipe Deep Well Jet Kit 2 in.
Keeney 1/2 In. Chrome-Plated Pipe Cover Tube and Flange
Hose Bibb, Lead-Free, 3/4 MPT x 3/4-In. Hose Thread
B & K Industries Galvanized Steel Hanger Strap 3/4” x 50FT 24 Gauge
Fluidmaster K-400H-043 Fill Valve + 2" & 3" Super Flapper